《哪吒2》票房登顶中国影史**!一起来揭秘这场百亿IP保卫战!

《哪吒2》的IP保卫战


图 | 网络

2025年的春节档,超出了所有人的预期。创造了历史新纪录:

开启预售不到40分钟,票房冲破千万,刷新中国影史预售最快破千万纪录;

正式售票5小时28分,六部新片预售总票房破亿,刷新历届春节档预售票房破亿最快纪录;

首日票房超17亿元,打破了2021年16.93亿元的票房纪录。

据最新网络平台数据,《哪吒之魔童闹海》总票房(含点映及预售)已超越《长津湖》票房,位列中国电影票房总榜榜首。

如今,所有人都关心的一件事,似乎只有《哪吒2》是否能撼动影史纪录。但在这之外,我们也看到了春节档其他的变化,比如推陈出新的营销,愈演愈烈的IP大战,以及这背后,行业和品牌的真正赢家。

➡ 记得关注「中界海外」并设为星标,每日为您分享境外小知识~

目录 Directory

01 《哪吒2》申请超百个专利、著作权及商标

02《哪吒2》的著作权登记

03《哪吒2》的专利申请

04《哪吒2》的商标注册

05 总结




01

《哪吒2》申请超百个

专利、著作权及商标


《哪吒2》凭借其**匠心的创意、精雕细琢的制作以及直击人心的深刻主题,强势俘获了观众的心,一路高歌猛进,不仅收获了大量好评,更在票房上一路飙升,成为当之无愧的现象级佳作!

目前票房已超过《长津湖》成为中国影史票房**的电影。

这部影片不仅延续了前作《哪吒之魔童降世》的传奇,为制片方赚的盆满钵满,除了票房收入外其原创人物形象以及周边等也是估值百亿的隐形财富!

制片方显然在影片制作期间已经意识到了这一点,早前便为《哪吒2》片中角色及人物形象申请超百个专利、著作权及商标。

来源:电影长津湖微博

目前《哪吒2》已与荣耀手机、坦克品牌、蒙牛、泡泡玛特、万代南梦宫、卡游、FunCrazy、杰森动漫、集卡社等品牌联名合作,这些联名合作的成功除了《哪吒2》IP本身的影响以外,也得益于背后全面的知识产权保护!



02

《哪吒2》的著作权登记


尽管这些角色在创作完成的那一刻,就已经自动获得了著作权保护。

但电影出品方仍然为电影中上百个角色及其不同形态,进行了全面细致的美术作品著作权的登记。

例如,哪吒与敖丙角色形象及其衍生形态均进行了著作权登记。

同样,帅爹敖光与妩媚的敖闰这两个角色的人形、龙形形象也分别进行了著作权登记。

此外,影片中呆萌且人畜无害的土拨鼠,制片方也特别选出了六只幸运鼠与老大、老二一起进行了著作权登记。

同时,石矶娘娘、无量仙尊、鹿童、鹤童等角色或其变形形态也进行了美术作品著作权登记。

另外还对影片剧本进行了文字版权登记。

值得学习的是制片方还特别关注了影片中一些细节元素的著作权保护,如石矶娘娘的魔镜等道具,也进行了专门的著作权登记。

虽然这些角色、内容、音乐设计在创作完成时,就自动享有著作权;但是电影的出品方还是为这些原创作品申请登记超百件著作权。

这也是为以后打击模仿、抄袭,维权提供方便。

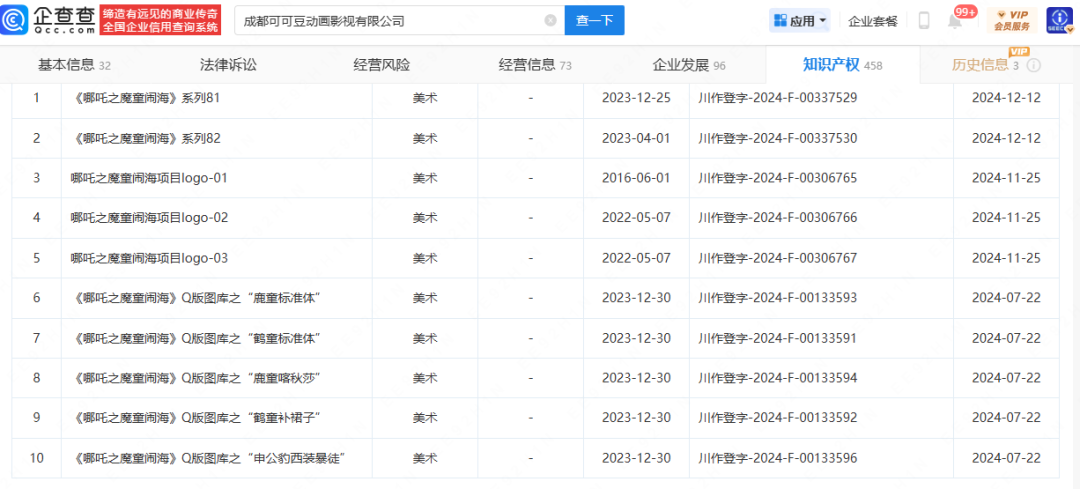
这些《哪吒2》电影角色的著作权,目前分别掌握在成都可可豆动画和成都自在境界文化两家公司手中,他们分别登记了47件和114件。而且他们都是饺子导演的关联公司。

不过《哪吒2》的知识产权保护,还远不止于著作权。




03

《哪吒2》的专利申请

图源:豆瓣电影

在角色周边产品的专利保护方面,制片方同样采取了积极的策略。

面对市场上可能出现的以电影角色为原型的周边产品,如玩偶等,制片方早已做好了充分的准备。

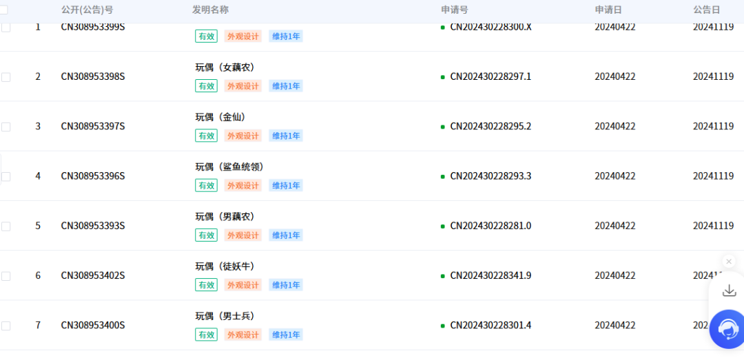
在电影制作过程中,制片方针对影片中多个角色进行外观设计专利申请,目前,成都可可豆动画与成都自在境界文化两家出品公司,已经成功公开了10项与电影角色玩偶设计相关的外观专利。

这些专利涵盖了多个深受观众喜爱的角色,如玉虚宫捕妖队的成员、嘲笑哪吒的小道士、海底妖族的攻城虾与鲨鱼统领等。这些角色的外观专利在2024年4月22日正式提交申请,并在同年年底成功获得了授权公告。

除了上述角色外,还有为哪吒、敖丙重塑肉身的藕农、申正道的徒弟小妖怪、以及在电影中短暂亮相的十二金仙之一道行天尊等角色,也获得了相应的外观专利。

这些专利的获得,标志着制片方已经对这些角色的玩偶设计进行了全方位的法律保护,有效防止了未经授权的周边产品制作与销售行为。

因为专利在申请到公开有一定的时间,所以合理推测一下!出品方应该已经为更多角色申请了玩偶类的外观专利,只是目前尚未全部公开。毕竟还有许多我们熟悉的任务角色都还未看到身影,例如敖光、敖闰、石矶娘娘等重要角色,更应该享受著作权与外观专利的双重法律保障。

全面的专利保护策略,对于提升市场竞争力有重要意义。




04

《哪吒2》的商标注册


商标注册作为保护品牌价值的重要手段,被出品方高度重视。

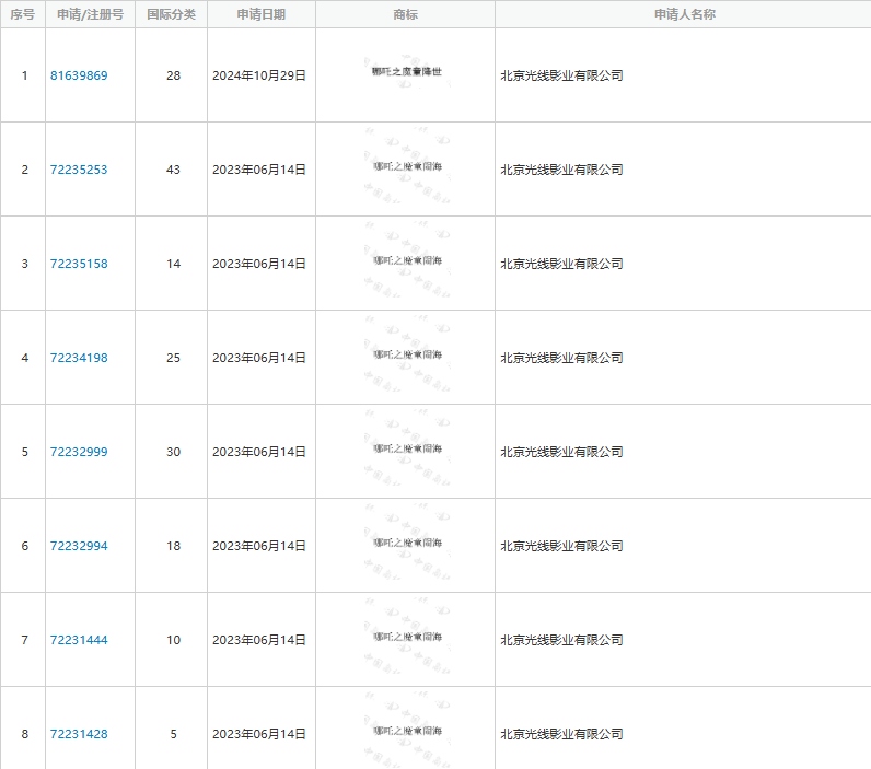
《哪吒2》的出品方对影片的相关元素进行了全面的商标注册工作,包括影片名称、角色名称、衍生品牌等。目前已经提交了多达数百件与电影相关的商标注册申请。

这些申请涵盖了多个国际分类,包括但不限于教育娱乐、餐饮住宿、广告销售等关键领域。

知识产权信息显示,《哪吒之魔童降世》、《哪吒之魔童闹海》电影出品方北京光线影业有限公司已提交了多达1000多个与《哪吒》相关的商标注册申请。

光线影业早在2022年8月就开始申请注册“魔童闹海”商标,为电影的上映和后续推广做好了前期准备。

2023年6月,光线影业更是在多个国际分类上大量申请注册了“哪吒之魔童闹海”商标,这一阶段的申请数量显著增加。

截至目前,大部分“哪吒之魔童闹海”商标已经成功注册,仅有少数类别可能仍处于审查或驳回复审阶段,但这并不影响已注册商标对电影品牌的全面保护。




05

总结


图 | 网络

既能保护自己的IP价值,也能为未来的电影佳作打个样!

制片方通过一系列的法律手段,确保了电影中的各个元素都得到了充分的保护,为电影的长期商业利益提供了有力保障。这种对知识产权的尊重和保护意识,确实值得整个电影产业学习和借鉴。

总的来说,提前布局商标、全面考虑类别、结合IP衍生品开发有利于避免侵权纠纷,提升维权效果,同时还有助于**化IP商业价值。

知识产权,才是“魔童”真正的混天绫。

《哪吒2》的成功,不仅是国漫技术的胜利,更是一场关于知识产权的觉醒之战。当中国IP从“爆款”走向“品牌”,唯有筑牢商标与版权的防线,才能让“魔童”真正闹海,而非淹没于侵权的巨浪中。

ZJHW.

海外商标注册案例

图 | 我司全球商标案例

中界海外作为专业的一站式海外服务平台,如果您的公司也想进行知识产权布局,欢迎直接扫描下方二维码或后台私信,我们将随时为您提供专业的咨询服务~

相关咨询,请扫码添加WX!

注:文章部分内容来源网络,转载仅做分享,侵删。



相关咨询,请扫码添加WX!

以上就是今日相关介绍,希望对您有所帮助,如您有开户相关疑难,欢迎私信小界咨询哦~

点击文章末尾左下角“阅读原文”,即可获取上图所示海外商标/专利等知识产权申请指南哦~

如果您有公司注册、银行开户等需求或其他的疑问,欢迎随时与我们联系,我们将有专业团队和您做具体沟通,并提供解决方案。


推荐阅读

简要拆解“红筹架构”:中企境外上市的“黄金通道”!


2025最“卷”港卡 —【香港汇丰】!内地远程+零门槛!附预约/开户/激活/使用详细攻略!


2025主打“轻开户”!不去香港,不用理财,内地远程零负担办理【香港华侨永亨】!


红筹架构与VIE架构:构建海外上市桥梁,揭秘SPV与WFOE的关键角色




中界海外  ·  企业网址

www.zjhw2020.com



中界海外,您远航世界的一站式海外服务平台。

专注为您提供海内外公司注册、离岸账户开设、审计、税务及财务咨询、国际金融牌照、国际知识产权、跨境电商、VIE架构、ODI境外投资备案、37号文等,为客户量身定做优选的企业发展方案~

更多关于境外服务的专业解答,欢迎关注“中界海外”,给您最专业的建议、最用心的服务~

微信公众号 | 视频号 | 抖音 | 微博 | 知乎 | 小红书ID

中界海外



文章分类: 知识产权
深 圳 总 部:深圳市福田区京基滨河时代大厦A座4503B
香港分公司:香港尖沙咀梳士巴利道18号K11ATELIER18楼1804室 北京分公司:北京市朝阳区景华南街5号远洋光华国际C座1605单元 上海分公司:上海市徐汇区虹桥路183号徐家汇中心三期A座29楼 广州分公司:广州市海珠区新港东路环汇商业广场南塔1605